四川成都IM官方版 机械经过24年的发展已成为集粉流体混合机,搅拌机,反应釜,输送机,分散机,除尘器,计量包装机,研磨机,涂料建材化工成套设备等综合性机械制造企业如:干粉砂浆设备,腻子粉设备,储罐,玻化微珠设备,涂料设备,研磨设备,化工反应釜设备,树脂设备,等设备,IM官方版 还致力于:钢衬塑,钢衬PE,钢衬PO,钢衬四氟储罐反应釜和管道的非标化工防腐设备生产为一体的大型企业,2009年成立四川金梯IM官方版 四氟防腐科技有限公司将四氟防腐高端技术带进四川成都、重庆等大城市力图打造西部化工防腐强军。

新型干粉砂浆生产设备流程

来源:IM官方版网站登录入口-IM(中国) 浏览次数:6338次 更新日期:2013-07-19
用途广泛:主要应用于建材、化工等行业的干粉砂浆、砂浆王、砌筑砂浆、耐磨地坪、内外墙腻子粉、粉刷石膏、干粉粘合剂及各种纤维素和干粉状化工材料的混合搅拌。
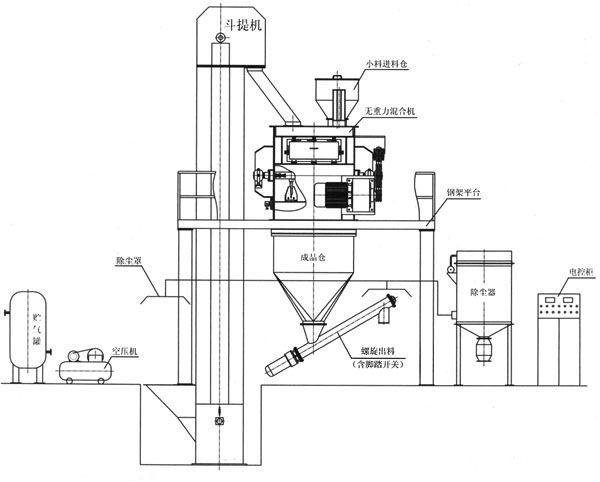
主要配置:加料斗、斗式提升机,待混仓,三轴无重力混合机,成品仓,均化喂料机,全自动计量包装,脉冲除尘器,平台支架爬梯护栏,电器控制柜等组成。
性能特点:设备设计合理,性能稳定,密封精密,收尘效率高,操作简单,生产效率高,4-6人即可生产。具有物料混合均匀,混合时间短,输出动力小,坚固耐用,维修方便等优点。
主要技术指标:
型 号
总功率
(kw)
规格
(吨/次)
产量
(t/h)
外形尺寸(mm)
长x宽x高
YT-
22.7
1
6-8
4000x4200x6500
YT-
26.7
2
8-10
4000x4500x6500
备注:本型号可根据客户要求配备自动计量配料设备,形成全自动一条龙生产线,可提高产量,提升产品品位和企业形象。
 
最新评论和留言:
评论或留言:(如需咨询相关设备,请直接致电四川IM官方版 机械新都石板滩生产厂区销售部:028-83053368)
姓名 
电话 
内容 
验证码  看不清楚,刷新验证码

   



返回首页 | 关于IM官方版  | 产品中心 | 联系我们 | 网站地图 | 法律声明
©1993-2012 huilicdc.com IM官方版网站登录入口-IM(中国) 版权所有     联系电话:4006-269-369(免长途费) 028-83968368 / 83053368 传真:028-83053228
客户分布:四川(成都 绵阳 德阳 广元 乐山 宜宾 泸州 内江 自贡 南充 达州 广安 攀枝花) 重 庆(万州)云南 贵州 (贵阳) 新疆 湖北 河北 山东 广东 (广州、深圳) 甘肃 (兰州)
合作伙伴:
蜀ICP备10013818号-3
九游(JIUYOU)官网 leyu.乐鱼(中国)集团有限公司官网 OD在线-OD在线(中国) B体育·(中国)官网 - BSPORTS bsports(中国)B—sports登录入口 千亿·球友会(中国)官方网站 qy球友会·(千亿)-官方网站 QY·千亿(球友会)官方网站 江南手机网页版_江南(中国)